記事検索
ゲームタイトル/メーカー名検索
詳細な検索へ
RSS
公式Xアカウント
サイトの使い方
問い合わせ
オススメ機能
お気に入り
記事履歴
ランキング
「お気に入り機能」とは?
×閉じる
Twitterでつぶやく
この記事への
Twitterでのコメント(α版)
×閉じる
×閉じる
URL:
×
(
)
原寸表示/連続表示はこちら
つぶやく
TOP
画像ギャラリー
Nintendo Switch本体
000
/017
サムネイルモードへ
【
フルサイズ表示
自動縮小表示
】
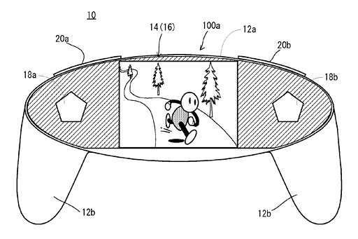
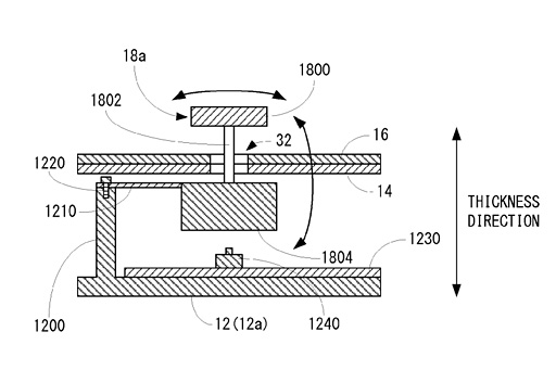
西川善司の3DGE:2016年新年企画。任天堂次世代機の姿を公開特許文書から推測する
このページの最終更新日:2016/01/06 00:00
Pages:
(
全17枚)
拡大画像モードへ
Now Loading...
4Gamerからお知らせ
閉じる